Машина ротационная для формования корпусов конфет разнообразной конфигурации на основе фруктово-грильяжных, помадно-пралиновых масс, тираженного ириса, дробленных сухофруктов Р3-ШМФ-6

Предназначена для формования корпусов конфет разнообразной конфигурации и выдачи их на транспортер. Применяется на предприятиях кондитерской промышленности. Изготовляется в климатическом исполнении УХЛ.4 по ГОСТ 15150-69.
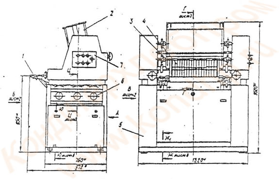
Состоит из станины, бункера для массы, подающего барабана, формующего вала, ленточного транспортера, пульта управления с механизмами управления процессом формования.
Конфетная масса загружается в бункер и подающим барабаном перемещается в зону формования, где попадает в матрицы формующего вала и уплотняется. При соприкосновении находящейся в углублениях дозы конфетной массы с верхней ветвью ленточного транспортера, она остается на конвейере в виде готового изделия, т.е. корпусов конфет, которые передаются на следующие технологические операции.

Машина формующая Р3-ШМФ-6: 1 - транспортер; 2 - бункер; 3 - барабан; 4 - фомующий вал; 5 - станина; 6 - механизм управления; 7 - пульт управления
Техническая характеристика
| Производительность кг/ч | 150-300 |
| Объем загрузочного бункера, м3 | 0,048 |
| Ширина транспортера, мм | 600 |
| Установленная мощность, кВт | 1,7 |
| Габаритные размеры, мм | 1012 х 1320 х 1620 |
| Масса, кг | 800 |