Машина для формования корпусов конфет различного сечения методом выпрессовывания жгутов из кондитерских масс МФБ-5 (ШПФ-5)
Назначение
Машина предназначена для формования батончиков и корпусов конфет прямоугольного, круглого, трапециидального сечения из пралиновых, соевых, марципановых и аналогичных с ними по консистенции масс путем выпрессовывания жгутов.
Применяется преимущественно на кондитерских предприятиях средней и малой мощности.

Технические характеристики
| Производительность , кг/час | 325 |
| Диаметр шнека, мм | 96 |
| Частота вращения шнека, об/мин | 100 |
| Число отверстий в формующей матрице, штук | 5 |
| Диаметр отверстий в матрице конфет цилиндрической формы, мм | 18 |
| Сечение отверстия в матрице для корпусов конфет прямоугольной формы, мм | 18х10 |
| Частота вращения вертикального вала, кВт/об/ мин | 1,7/1500 |
| Габариты, мм | 1250х845х1640 |
| Масса, кг не более | 410 |
Состав и принцип работы
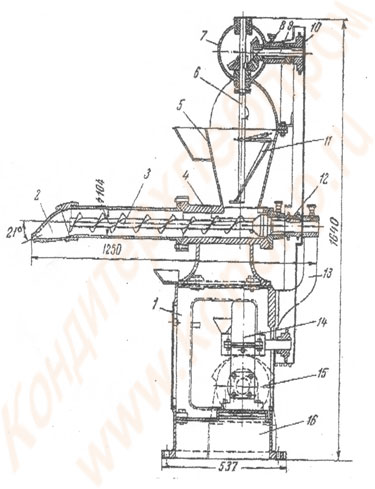
Машина состоит из станины 1 с кронштейном 13, смонтированной на чугунной плите 16, привода с червячным редуктором 14 и электродвигателем 15, корпуса 4 с вращающимся шнеком 3 я формующей матрицей 2, головки 7 со смонтированной внутри парой конических шестерен 8 и загрузочной воронки 5 со спиралью 11.
Смонтированный внутри чугунного корпуса 4 стальной сварной шнек 3 соединен со средним горизонтальным валом. Для восприятия осевого усилия, возникающего в результате нагнетания массы шнеком, предусмотрен упорный шарикоподшипник. На горизонтальном валу насажена двухрядная звездочка 12 для привода шнека.
Внутри головки 7 вращаются верхний горизонтальный вал 9 с конической шестерней и звездочкой 10, а также вертикальный вал 6 с конической шестерней и спиралью. Спираль 11 служит для подачи конфетной массы в корпус машины 4 и непрерывного перемешивания ее в загрузочной воронке 5.
Конфетная масса поступает в загрузочную воронку 5, из которой спиралью 11 подается в корпус 4 со шнеком 3. Шнек, вращаясь, перемещает массу и выпрессовывает ее через формующие каналы матрицы 2 в виде пяти бесконечных жгутов, которые в дальнейшем либо подхватываются транспортером охлаждающе – конвейерной машины, либо вручную разрезаются на отрезки длиной до 800 мм, которые затем укладываются на фанерные лотки. Шнек плавающий, самоцентрирующийся. При поступлении конфетной массы в корпус шнека возникает осевое усилие на шнек, что обеспечивает его зацепление с приводным валом.
Отрезки жгутов подвергаются охлаждению и выстойке. Охлажденные, отформованные заготовки для конфет поступают на резку и завертку. При установке сменной матрицы с каналами прямоугольного сечения на этой машине можно формовать полосы с последующим разрезанием на корпуса конфет, имеющих форму параллепипеда.
